Автоматический воздухоотводчик HANSA с отсекающим клапаном
Назначение и применение автоматического воздухоотводчика HANSA 
Поплавковый воздухоотводчик HANSA применяется для автоматического удаления воздуха и прочих газов из трубопроводов и воздухосборников внутренних систем (систем отопления, холодного и горячего водоснабжения, теплоснабжения вентиляционных установок, кондиционеров, коллекторов) в соответствии со стандартом PN-EN12828. Предохраняет закрытые системы трубопроводов от явлений коррозии и кавитации и от образования воздушных пробок. Воздухоотводчик может использоваться на трубопроводах, транспортирующих жидкие среды, неагрессивные к материалам изделия (вода, растворы пропилен- и этиленгликолей с концентрацией до 40%).
Воздухоотводчик поставляется в комплекте с отсекающим клапаном. Отсекающий клапан
служит для присоединения воздухоотводчика к системе, и позволяет производить монтаж и демонтаж воздухоотводчика без опорожнения системы.
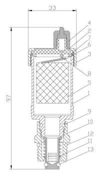
Конструкция автоматического воздухоотводчика HANSA:
![]() | Воздухоотводчик: 1 – корпус 2 – крышка корпуса 3 – накидное прижимное кольцо 4 – колпачок защитный 5 – поплавок 6 – рычаг 7 – уплотнительной кольцо 8 – уплотнитель клапана 9 – уплотнительное кольцо Отсекающий клапан: 10 – корпус 11 – пружина 12 – уплотнительное кольцо 13 – уплотнительное кольцо |
Корпус (1) и накидное прижимное кольцо (3) изготовлены из латуни марки CW617N (по европейскому
стандарту DIN EN 12165-2011), соответствующей марке ЛС59-2 (по ГОСТ 15527-2004), с никелированием поверхностей. Корпус выполнен в форме стакана с отверстием для присоединения отсекающего клапана. Располагается в дне корпуса и имеет наружную резьбу диаметром 3/8", соответствующую ГОСТ6357-81 (ISO 228-1:2000, DIN EN 10226-2005).
Принцип работы воздухоотводчика: 
При отсутствии воздуха, корпус воздухоотводчика заполнен жидкостью, и поплавок держит выпускнойклапан закрытым. Когда воздух собирается в поплавковой камере, уровень воды в ней понижается, а сам поплавок опускается на дно корпуса. Тогда с помощью рычажно-шарнирного механизма открывается выпускной клапан, через который воздух выводится в атмосферу. После выхода воздуха, вода вновь заполняет поплавковую камеру, поднимая поплавок, что приводит к закрытию выпускного клапана.
Циклы открытия/закрытия клапана повторяются до тех пор, пока воздух не ставится из ближайшей части трубопровода, перестав собираться в поплавковой камере.
Технические характеристики воздухоотводчика HANSA:
| Присоединительный размер | 15 DN 1/2" G |
| Максимальное рабочее давление, бар | 10 |
| Минимальное рабочее давление, бар | 0,1 |
| Температура рабочей среды, °С | от 0°С до +110°С |
| Максимальная температура окружающей среды °С | 60°С |
| Длина, мм | 97 |
| Ширина, мм | 33 |
| Вес, г | 137 |
Скачать руководство по монтажу автоматического воздухоотводчика HANSA
Скачать технический паспорт изделия и инструкцию по эксплуатации воздухоотводчика HANSA
Купить немецкий автоматический развоздушник HANSA (Ханса) у официального представителя в Республике Беларусь - ООО "ТорговыйДом Атмос" в Минске.
производитель
HANSA
Если вы хотите купить автоматический воздухоотводчик HANSA с отсекающим клапаном , вы можете:




