Горизонтальный комбинированный бойлер OKCV125
Косвенный накопительный водонагреватель OKCV 125 с электрическим "сухим" ТЭНом без рециркуляции предназначен для горизонтальной установки. Бойлер может быть смонтирован на стене с помощью кронштейнов, которые входят в комплект поставки, или закреплён горизонтально на любой подходящей конструкции. Толщина стали 2,8 мм. Возможно исполнение левостороннего и правостороннего подключения.
Возможности нагрева
Электричеством. Нагрев воды происходит с помощью керамического нагревательного элемента, управление которым обеспечивается рабочим термостатом, а термоэлектробезопасность – предохранительным термостатом (термопредохранителем). Керамический нагревательный элемент размещён в стальной гильзе. Погружная гильза сделана из того же материала, что и резервуар водонагревателя (стали), вследствие чего не возникает гальваническая реакция. Прочие производители, в основном, используют погружённые в воду нагревательные элементы из других материалов, например, меди, нержавеющей стали, что рано или поздно приводит к коррозии металла.- Диапазон допустимых температур – от 5 до 74 °С.
- Номинальное напряжение 1-PE–N/AC 230 V/50 Hz.
- Электроизоляционное покрытие IP 44.
Принадлежности
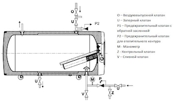
- Предохранительный клапан
- Комплект кронштейнов для крепления
Технические характеристики
| Объём [л] | 125 |
| Номинальное избыточное давление [MPa] | 0,6 |
| Напряжение [V] | 230 |
| Потребляемая мощность [W] | 2 000 |
| Koэффициент электрической безопасности | IP 44 |
| Высота водонагревателя [мм] | 1 067 |
| Диаметр водонагревателя [мм] | 524 |
| Вес водонагревателя без воды [кг] | 59 |
| Время нагрева воды электр. энергией с 10 °C до 60 °C [часов] | 3,3 |
| Поверхность теплообменника [м^2] | 0,7 |
| Максимальное время нагрева воды теплообменником с 10 °C до 60 °C [минут] | 43 |
![]() | |
ПОЛЕЗНАЯ ИНФОРМАЦИЯ
Каталог горизонтальных бойлеровПаспорт горизонтальных бойлеров
Видеообзор накопительного бойлера комбинированного нагрева DRAZICE
производитель
DRAZICE
Назначение
для газового котла, для твердотопливного котла
Тип
Электрический
Тип установки
горизонтальные, навесные
Объем
120-200 литров
Теплообменник
Один
ТЭН
Керамический
Если вы хотите купить горизонтальный комбинированный бойлер OKCV125 , вы можете:








