Наглядные примеры установки и монтажа пеллетных котлов ATMOS
1. Пространство котельной с бункером 500 л
 
  
 Условные обозначения:
1 - Дымоход
2 – Канал дымохода
3 - Котел
4 - Горелка
5 - Транспортер
6 - Резервуар
2. Пространство котельной со встроенным бункером для пеллет 3м3
 
 Описание: Котельная со встроенным бункером объемом 3м3, в который можно уложить 1950 кг гранул. В этих целях используется транспортер длиной 1,5 м (2,5 м). Для облегченного доступа к резервуару служит сегментное отверстие, которое можно приспособить высоте уровня гранул в резервуаре. В верхней части резервуара имеются два отверстия для дополнения гранул из цистерны.
 
 Для оптимальной загрузки гранул угол верхних стенок резервуара должен составлять минимально 45°. Все три стенки направлены к самой низкой точке резервуара, откуда гранулы черпаются шнековым транспортером.
 
 Условные обозначения:
1 - Котел
2 - Горелка на гранулы
3 - Транспортер
4 - Гранулы
5 - Сегментное отверстие
6 - Отверстие для дополнения гранул из цистерны
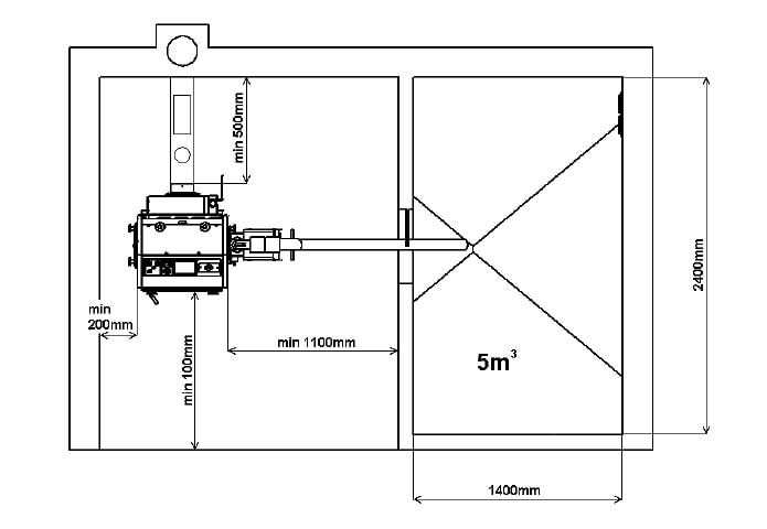
3. Пространство котельной со встроенным бункером для пеллет 5м3
 
 Описание: Котельная со встроенным бункеолм объемом 5м3, в который можно поместить 3250 кг гранул. В этих целях используется транспортер длиной 1,5 м (2,5 м). Для простого доступа к резервуару служит сегментное отверстие, которое можно приспособить высоте уровня гранул в резервуаре. В верхней части резервуара имеются два отверстия для дополнения гранул из цистерны.
 
 Для оптимальной загрузки гранул угол верхних стенок резервуара должен составлять минимально 45°. Все три стенки направлены к самой низкой точке резервуара, откуда гранулы черпаются шнековым транспортером.
 
 Условные обозначения:
1 - Котел
2 - Горелка на гранулы
3 - Транспортер
4 - Резервуар для гранул
6 - Отверстие для загрузки гранул из цистерны
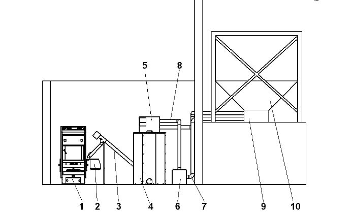
4. Пространство котельной с бункером 500 л и пневматической подачей пеллет из большого внешнего резервуара, находящегося вне котельной
 
 Описание: Котельная с резервуаром объемом 500 л, в который можно загрузить 325 кг гранул, над которым расположен пневматический транспорт для пеллет (циклон, вентилятор и устройство управления). Этот пневматический транспорт позволяет автоматически дополнять небольшой резервуар в котельной из большого бункера произвольного объема (стандартно 3 и 5 м3), расположенного вне объекта.
 
 Эта система предназначена для удобной загрузки гранул диаметром 4 - 10 мм из бункера на расстояние 15 м и с подъемом макс. 6 м.
Мощность = транспортируемое количество гранул - 8-12 кг/мин. Подводимая мощность пневматического транспортера пеллет составляет 1650 Вт. Но это оборудование не работает постоянно, а только в случае опорожнения резервуара с гранулами у котла.
 
 Условные обозначения:
1 - Котел
2 - Горелка для гранул
3 - Транспортер
4 - Резервуар для гранул
5 - Циклон с управляющим устройством
6 - Вытяжной вентилятор
7, 8 - Трубопровод
9 – Всасывающий зонд
10 – Матерчато-стальной бункер (3-5м3)
5. Баки для пеллет 250, 500, 1000 л
 
  
  
 Состав:
1. боковая часть бака (4шт)
2. дно бака (1-2шт)
3. уклон (1-2шт)
4. рамка (0-2шт)
5. крышка бака (1-2шт)
6. крышка отверстия для горизонтального транспортера (1шт)
7. редукция для иного диаметра транспортера (1шт)
8. поручень (1-2шт)
6. Установка пневматического транспорта для пеллет на бункер
 
  
  
 При проведении заказа всегда необходимо специфицировать тип резервуара, который будет устанавливаться для пневматического транспорта.
Пояснительный текст:
1A. пневматический транспорт - циклон, регулирование (1шт)
1B. пневматический транспорт - крепежная деталь (1шт, составная часть пневматического транспорта)
2. бак для гранул (1шт)
3. крышка бака для пневматического транспорта (1шт)
4. контрольная крышка бака (1шт)
5. крышка отверстия (1шт, составная часть бака)
6. болт M5x30 (4шт, составная часть пневматического транспорта)
7. прокладка M5 (4шт, составная часть пневматического транспорта)
8. гайка M5 (4шт, составная часть пневматического транспорта)
9. рукоятка (1шт)
10. болт M8x30 (2шт)
11. прокладка M8 (2шт)
12. гайка M8 (2шт)
7. Большой текстильный резервуар для пеллет
Резервуары TZ изготовлены из специального текстиля и предназначены в первую очередь для центрального хранения гранул. В нижней части они снабжены отводом в единое приемное место, на которое можно установить сборный зонд пневматического или шнекового конвейера для гранул. Простая несущая стальная конструкция гарантирует несложную установку и демонтаж резервуара. Перед их установкой нет необходимости проводить специальную строительную реконструкцию складских помещений, они требуют только укрепленный пол. Резервуары изготавливаются в трех основных размерах и в вариантах, открытых сверху для верхней загрузки или же закрытые сверху для боковой загрузки (с подключением к шлангу – «Stortz» тип A). Тип резервуара или же количество его загрузок в сезон обогрева можно просто определить согласно основному правилу: 1 кВт необходимой мощности источника тепла = 0,55 м3 (358 кг) гранул/год.| Порядковый номер | Объем (м3) | Длина сторон (мм) | Высота (мм) | 
| T Z 5 | 5 | 2 200 | 2 200 | 
| T Z 3 | 3 | 2 000 | 1 800 | 
| T Z 1 | 1,5 | 1 400 | 1 500 | 
производитель
ATMOS
Если вы хотите купить наглядные примеры установки и монтажа пеллетных котлов ATMOS  , вы можете:


 
  
 
 
 
 
 
 
 
 
 
 
